
所屬分類:陽江輸送機保護開關
發布日期:2020-6-12
瀏覽:次
咨詢電話:15373185054
分享此產品:
欠速打滑開關
概述;
欠速打滑開關是一種可靠性強、對軸轉速及其他旋轉裝置簡單通用的監測裝置。當監測到當前轉速信號低于正常轉速范圍開關輸出開關信號,以供報警或停機。無運動部件、無磨損、安全壽命長,一體化結構,集中的控制裝置,設定或故障檢修簡單。
安裝:
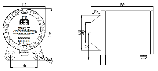
欠速打滑開關安裝在輸送機從動輪或其他能等于實際膠帶運行速度的轉軸側面,從動輪或轉軸側面需焊接一個可供欠速打滑開關感應面(感應面必須采用鐵質材料),感應面截面尺寸不小于50mm×50mm,欠速打滑開關與感應面最大距離為25mm。感應面為欠速打滑開關提供一個脈沖信號,從動輪旋轉一圈感應面通過一次欠速打滑開關區域,從而產生一個脈沖信號。當產生一次脈沖信號時,欠速打滑開關面板上的脈沖指示燈會閃一次。需要確保除感應面外,從動輪側面無任何可使欠速打滑開關產生脈沖信號的金屬物體。
設置:
先按
鍵出現數碼閃爍,再按
鍵 到顯示:1、2、3。
再按
鍵出現數碼閃爍,再按
鍵調整打滑轉數值,再按
鍵設置成功。
工作原理:
欠速打滑開關是為了檢測皮帶機尾輪的旋轉速度,開關與尾軸無接觸。當尾軸隨膠帶機運行旋轉時而帶動感應片,感應片與檢測器發生的感應信號輸入到控制電路中去。經放大,整形后進行計數,其計數值與預置數比較,從而判斷膠帶的速度,既:在達到低于打滑速度時執行電路輸出相應的開關信號,使主機停機。本開關可調整速度值。
技術指標:
1、工作電源:AC220V 頻率:50-60Hz
2、溫度范圍:-20℃~+70℃
3、啟動延時:約10秒鐘
4、檢測距離:從檢測器到感應塊之間最大距離Sn:20mm
5、觸點容量:240V/AC,3A,輸出值一組常開,一組常閉
6、轉 速:30-100轉/分


